Каталог

Alsident 75-3590-3-6. Дымоприемник 3-секционный антистатический потолочный (без раструба)

картинка Alsident 75-3590-3-6. Дымоприемник 3-секционный антистатический потолочный (без раструба)
картинка Alsident 75-3590-3-6. Дымоприемник 3-секционный антистатический потолочный (без раструба)
Артикул
46B000148
Описание

Такими дымоприемниками рекомендуется оснащать рабочие места с антистатической ESD защитой и зоны работы с потенциально опасными средами EX (ATEX). Антистатические дымоприемники Alsident System 75 успешно прошли все тесты Датской организации DELTA и немецкой BAM на соответствие стандартам IEC 61340-5-1 и IEC 61340-4-1.

Дымоприемники из алюминия диаметром 75 мм отлично подходят для широкого применения в лабораториях, лазерной технике, медицине, пищевой промышленности, мастерских по механической обработке. Однако в большей степени шарнирные дымоприемники System 75 используются в салонах красоты и электронной промышленности.

Alsident производит широкий спектр моделей System 75 с различными длинами секций и рабочими расстояниями от точки крепления до источника загрязнения до 1990 мм. Дымоприемники System 75 спроектированы для быстрого и простого монтажа в отверстие в столешнице, на струбцину, крепящуюся на кромку стола или к настенному креплению.

Дымоприемник Alsident состоит из 3-х основных элементов: шарнирный дымоприемник, крепление и наконечник дымоприемника. Нужный вам комплект вы можете выбрать, согласно нашему каталогу.

Характеристики

Артикул 75-3590-3-6
Вес 2,3 кг
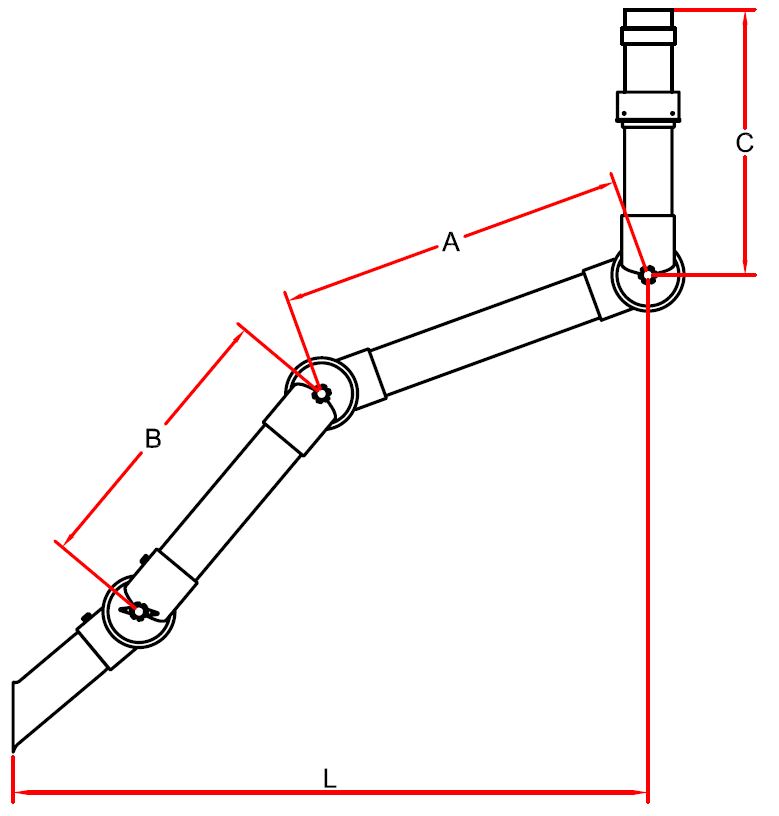
Размер A 350 мм B 900 мм C 350 мм
Воздушный поток 80-180 куб.м/ч
Радиус рабочей зоны 1200 мм
Материал дымоприемника хромированный алюминий + проводящий полипропилен
Диаметр воздуховодов 75 мм
Тип потолочный / настенный
Исполнение антистатическое

Комплектация

  • Alsident 75-3590-3-6 дымоприемник 3-секционный антистатический потолочный - 1 шт

Цена
32 803 ₽

Такими дымоприемниками рекомендуется оснащать рабочие места с антистатической ESD защитой и зоны работы с потенциально опасными средами EX (ATEX). Антистатические дымоприемники Alsident System 75 успешно прошли все тесты Датской организации DELTA и немецкой BAM на соответствие стандартам IEC 61340-5-1 и IEC 61340-4-1.

Дымоприемники из алюминия диаметром 75 мм отлично подходят для широкого применения в лабораториях, лазерной технике, медицине, пищевой промышленности, мастерских по механической обработке. Однако в большей степени шарнирные дымоприемники System 75 используются в салонах красоты и электронной промышленности.

Alsident производит широкий спектр моделей System 75 с различными длинами секций и рабочими расстояниями от точки крепления до источника загрязнения до 1990 мм. Дымоприемники System 75 спроектированы для быстрого и простого монтажа в отверстие в столешнице, на струбцину, крепящуюся на кромку стола или к настенному креплению.

Дымоприемник Alsident состоит из 3-х основных элементов: шарнирный дымоприемник, крепление и наконечник дымоприемника. Нужный вам комплект вы можете выбрать, согласно нашему каталогу.

Характеристики

Артикул 75-3590-3-6
Вес 2,3 кг
Размер A 350 мм B 900 мм C 350 мм
Воздушный поток 80-180 куб.м/ч
Радиус рабочей зоны 1200 мм
Материал дымоприемника хромированный алюминий + проводящий полипропилен
Диаметр воздуховодов 75 мм
Тип потолочный / настенный
Исполнение антистатическое

Комплектация

  • Alsident 75-3590-3-6 дымоприемник 3-секционный антистатический потолочный - 1 шт

Найдем решение любого вопроса

Мы всегда готовы помочь в подборе нужных товаров